官民境界杭・距離杭・車止め工用製品
官民境界杭・官民境界杭用ベース
商品名
国土交通省 官民境界杭(河川用)
官民境界杭は、国が管理する土地(道路、河川、公園など)と、個人や法人が所有する土地との境界を明確に示す重要な標識です。土地利用の秩序を保ち、トラブルを未然に防ぐために不可欠な存在です。
製品図面
官民境界杭


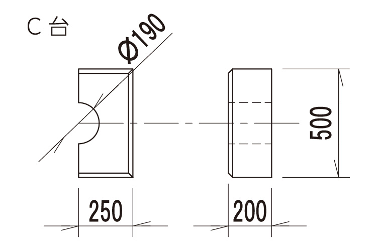
官民境界杭用ベース



製品情報
| 名称 | 寸法規格 | 参考重量(kg) |
|---|---|---|
| 官民境界杭 | φ150×1000 | 39 |
| 官民境界杭 半杭 |
φ150×1000 | 19.5 |
| 官民境界杭用 ベース A台 | 500×500×200 | 103 |
| 官民境界杭用 ベース B台 | 500×350×200 | 69 |
| 官民境界杭用 ベース C台 | 500×250×200 | 52 |
距離杭
商品名
国土交通省 距離杭(河川用)
河川用距離杭は、河川の維持管理や災害時の迅速な対応に不可欠な、重要なインフラ設備です。その確かな機能性と耐久性が、水辺の安全と円滑な管理を支えます。
製品図面
距離杭 A型(※)


※木部川上流河川事務所管内用
距離杭 A型


製品情報
| 名称 | 寸法規格 | 参考重量(kg) |
|---|---|---|
| 距離杭 A型(※) | 200×200×1000 | 92 |
| 距離杭 A型 | 200×200×1000 | 92 |
車止めD
商品名
車止めD
車止めは、河川堤防小段や堤防天端での車両の進入を防止するのに最適な、注意喚起と安全確保を目的とした製品です。
製品図面
車止めD


製品情報
| 名称 | 寸法規格 | 参考重量(kg) |
|---|---|---|
| 車止めD | 300×300×800 | 165 |
Contact
ご相談・ご質問など南濃コンクリート工業株式会社へのお問い合わせは、「お電話」または「メールフォーム」をご利用ください







